iGrow 800 - Aspirated Indoor Digital Air Temp & Hum Sensor Inst.

iGrow 800 - Aspirated Indoor Digital Air Temp & Hum Sensor Inst.


Aspriated.png
 
The 100 Series Aspirated Indoor Air Temperature and Humidity sensor provides powered aspiration for indoor monitoring of humidity and temperature. Pulling air thru the radiation shield and exhausting it out thru bottom, the 12 VDC power is supplied for both the fan and transmitters. The transmitter power is internally filtered from any fan motor noise that might affect the transmitter signal
 
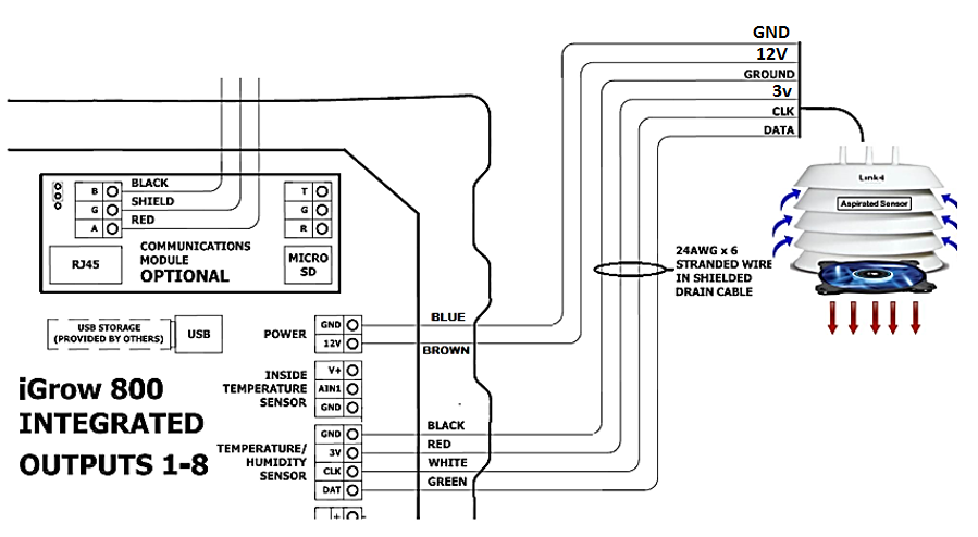
To install the sensor please view the following diagrams to assist you:
 
100_Series_Aspirated_Digital_Temp_and_Hum_Sensor_installation.png
 
You can also integrate quick swap junction boxes.  If you are using extremely high Humidity levels or Humidity Tunnels, we recommend rotating and swapping out the sensor, which will allow for your saturated sensors to air dry.   
Aspirated_Junction_Box.png
 
Aspirated_Temp_and_Hum_Sensor_Mapping.png
    • Related Articles

    • 1000 Series Aspirated Indoor Digital Air Temp & Hum Sensor Inst.

      The 1000 Series Aspirated Indoor Air Temperature and Humidity sensor provides powered aspiration for indoor monitoring of humidity and temperature. Pulling air thru the radiation shield and exhausting it out thru bottom, the 12 VDC power is supplied ...
    • iGrow 800 - Indoor Digital Air Temp & Hum Sensor Installation

      The Air Temperature/Humidity sensor is within a radiation shield to ensure accurate air temperature readings in direct sunlight. The sensor includes a 50-foot sensor cable. Normally you will want to hang the sensor near the crop level close to the ...
    • 1000 Series Outdoor Digital Air Temp & Hum Sensor Installation

      Instead of a weather station, you may simply be mounting an outdoor digital air temperature sensor. The Air Temperature/Humidity sensor is within a radiation shield to ensure accurate air temperature readings in direct sunlight. The sensor includes a ...
    • 1000 Series Indoor Digital Air Temp & Hum Sensor Installation

      The Air Temperature/Humidity sensor is within a radiation shield to ensure accurate air temperature readings in direct sunlight. The sensor includes a 50-foot sensor cable. Normally you will want to hang the sensor near the crop level close to the ...
    • iGrow 1400 - Digital Temp and Humidity Sensor Troubleshooting

      THIS PRODUCT HAS BEEN DISCONTINUED AND REPLACED BY THE PEARL CONTROL SYSTEM. https://link4controls.com/link4_controllers/ If your Digital Temperature and Humidity Sensor is displaying wrong readings, spiking up and down or not reading at all its time ...